(#MMQN4)
혼다 어코드 9세대 2.4L 전체 부품리스트
혼다 어코드 9세대 2013, 2014, 2015, 2016, 2017 년 2.4L 4기통 차량의 많이 구매하는 부품 리스트 모음. Drawing courtesy of Honda America, amayama.com, hondpartsnow.com. 부품주문전 본인 차량에 맞는지 재 확인필요함. 이 자료는 참고자료임. 추가로 브레이크오일, 엔진오일필터, 엔진룸에어필터는 가능한 순정을 권장한다. 그리고 특히 연료계통과 공연비등을 잘 챙겨야 한다. 촉매고장이 상당히 흔하게 진단된다. 알터네이터와 시동모터 역시 고장율이 상대적느로 높은편이다. 참고로, 혼다 어코드 9세대부터 처음으로 알터네이터 제어방식이 기존의 와이어방식에서 LIN BUS 데이터통신 방식으로 변경되었다. 충전시스템 역시 처음으로 IBS센서가 장착된것도 어코드기준 9세대부터이다. 아뭏은 9세대 어코드부터는 이전 차량과는 완전히 다르다. 혼다 아닌 혼다차량이다. 운 없으면 푼돈아끼다 목돈 들어가는 경우가 있다.
Product information

| Purchase: | Please contact us for the purchase |
|---|---|
| Manufacturer: | 혼다 (Japan) |
| Specifications: | TBC |
| Pros: | 순정으로 믿음이 있다 |
| Cons: | 가격이 비싸다 |

미션필터 (미션쿨러 안에들어가는것) 부품번호
#1. 25565-5LJ-A01 미션쿨러 상단 O링
#4. 25564-5LJ-A01 미션쿨러 하단 O링
#5. 91305-PN4-003 미션필터 O링
#2. 25450-P4V-013 미션필터

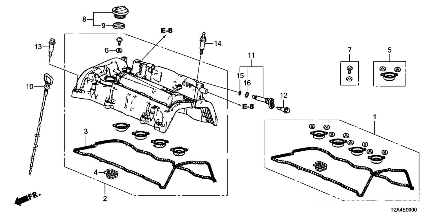
헤드커버 가스켓세트로 가스켓과 점화플러그튜브씰까지 포함한다, 도면에서 #1번이다. 12030-5A2-A01

#6. 15815-5A2-A01. VTEC 스풀벨브 가스켓
#17. 91319-PAA-A01. 오일압력센서 O링,
#8. 15832-RAA-A01. VTC 솔레노이드 O링

#4. 15845-5A2-A01. VTC 스트레이너

#11. 17130-5A2-A01. PCV 벨브 와 O링2개 한세트

#7. 36531-5A2-A01. 산소센서1번, AFR센서라고 함

#11. 36532-5A2-A01. 산소센서, 촉매이후의 산소센서.

#2. 17107-R40-A01. 스로틀바디 가스켓

K24W1 엔진블럭 냉각수 드레인플러그 토크 85Nm 위치 및 와셔크기 28mm

Washer, Sealing (28MM)
#22번. 90401-PR4-000

MAF 센서
#14번. 37980-RC0-M01

Sensor Assembly, Map (MAP센서)
#8번. 37830-RNA-A01

#12. 28820-RJ2-003. SENSOR, SPEED
TORQUE CONVERTER TURBINE SPEED SENSOR

#1. 12290-5A2-A02, 점화플러그. 4기통은 4개가 필요함
#2. 30520-5A2-A01. 점화코일, 1~4개, 필요에따라 구매

#2, 17045-T2A-A01 Module Set, Fuel Pump (연료펌프 어셈블리)
#4, 17047-T2A-A00 Set, Meter Complete (센더유닛)
#5, 17048-T2A-A00 Set, Fuel Strainer (연료필터)
#6, 17052-T0C-000 Regulator Set, Pressure (레귤레이터)

#6, 14510-5A2-A02, TENSIONER COMP., CAM CHAIN. Bolt Torque 12Nm.

ROTKEE CKD 진동센서
ROTKEE TL MLP BNC케이블
DifAmplifier 파형증폭기, 압력센서 점화파형 캔 통신등 활용
Kixx engine oil with API SP & ILSAC GF-6 for gasoline & lpg engines
Multipurpose torque wrench 10Nm~150Nm
Honda automatic transmission fluid, ATF-DW1, 4L
혼다 어코드 10세대 유지.관리 부품리스트
Foxwell NT650 Elite OBD2
페인트 두께 측정장비 HW300PRO
배터리 충전 복구장비
ROTKEE ExaPen 회로테스터기
PS100 디젤엔진 실린더압축압력센서
(3)Login for comments